
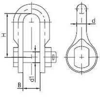
Скобы типа СК и СКД предназначены для перехода с шарнирного цепного соединения на соединение типа «палец-проушина», изменение расположения оси шарнирности, сцепления арматуры, рассчитанной на разные нагрузки. Скобы соответствуют требованиям ТУ 3449-107-00111120-94.
| Марка скобы | Размеры, мм | Разрушающая нагрузка, кН | Масса, кг | |||
| B | H | d | d1 | |||
| СК-4-1 | 15 | 45 | 10 | 14 | 40 | 0,2 |
| СК-7-1А | 17 | 50 | 14 | 16 | 70 | 0,38 |
| СК-12-1А | 23 | 65 | 18 | 22 | 120 | 0,91 |
| СК-16-1А | 26 | 70 | 20 | 25 | 160 | 1,22 |
| СК-21-1А | 29 | 75 | 24 | 28 | 210 | 1,82 |
| СК-30-1А | 38 | 100 | 28 | 36 | 300 | 2,97 |
| СК-60-1А | 47 | 125 | 38 | 45 | 600 | 6,44 |
| СК-75-1А | 52 | 125 | 40 | 50 | 750 | 10,91 |
| СК-90-1А | 58 | 150 | 48 | 56 | 900 | 12,22 |
| СК-110-1А | 62 | 150 | 53 | 60 | 1100 | 16,43 |
| СК-120-1 | 67 | 180 | 60 | 65 | 1200 | 22,5 |
| СК-135-1 | 72 | 180 | 60 | 70 | 1350 | 23,2 |
| СК-180-1 | 82 | 220 | 70 | 80 | 1800 | 35,9 |
| СК-270-1 | 110 | 270 | 85 | 108 | 2700 | 66 |
| СК-360-1 | 128 | 320 | 95 | 125 | 3600 | 111,7 |
| СКД-10-1 | 19 | 80 | 16 | 18 | 100 | 0,67 |
| СКД-12-1 | 23 | 82 | 18 | 22 | 120 | 1,16 |
| СКД-16-1 | 26 | 105 | 20 | 25 | 160 | 1,36 |
| СКД-21-1 | 29 | 115 | 24 | 28 | 210 | 2 |
| СКД-45-1 | 42 | 170 | 34 | 40 | 450 | 6,03 |
Скобы трехлапчатые типа СКТ
Скобы трехлапчатые типа СКТ предназначены для сцепления арматуры, рассчитанной на разные нагрузки, изменения расположения оси шарнирности. Скобы соответствуют требованиям ТУ 3449-107-00111120.
| Марка скобы | Размеры, мм | Разрушающая нагрузка, кН | Масса, кг | ||||
| H | B | b | D | d | |||
| СКТ-7-1 | 60 | 17 | 16 | 17 | 16 | 70 | 0,46 |
| СКТ-12-1 | 70 | 23 | 22 | 23 | 22 | 120 | 0,93 |
| СКТ-16-1 | 80 | 26 | 25 | 26 | 25 | 160 | 1,52 |
| СКТ-21-1 | 90 | 29 | 28 | 29 | 28 | 210 | 1,96 |
| СКТ-30-1 | 110 | 38 | 36 | 38 | 36 | 300 | 3,53 |
| СКТ-45-1 | 120 | 42 | 40 | 42 | 40 | 450 | 6,52 |
| СКТ-60-1 | 150 | 47 | 45 | 47 | 45 | 600 | 9,7 |



